| Component |
| Driver Power Window Switch |

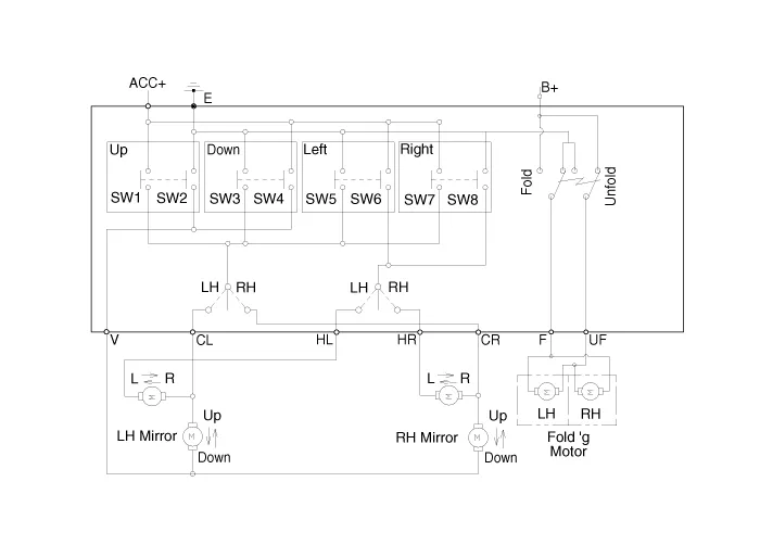
| Circuit Diagram |
| [Non-Folding Mirror Type] |

| [Folding Mirror Type] |

| Removal |
| 1. |
Disconnect the negative (-) battery terminal. |
| 2. |
Remove the front left door trim. (Refer to Body - "Front Door Trim") |
| 3. |
Remove the power mirror switch assembly (A) by pulling out both ends of the switch holders (B).
|
| Installation |
| 1. |
Install the power mirror switch. |
| 2. |
Install the front door trim after connecting the connector. |
| 3. |
Connect the negative (-) battery terminal. |
| Inspection |
| 1. |
Remove the front left door trim. (Refer to Body - "Front Door Trim") |
| 2. |
Remove the power mirror switch (A) from the door trim.
|
| 3. |
Check for continuity between the terminals in each switch position according to the table. [Power Mirror Switch]
[Power Folding Mirror Switch]
|
Components and components location Component Location 1. Power door mirror 2. Power door mirror switch 3. Power folding mirror switch
Components and components location Components 1. Side repeater lamp Repair procedures Inspection 1.
Schematic diagrams Circuit Diaram Description and operation Description The immobilizer system will disable the vehicle unless the proper ignition key is used, in addition to the currently available anti-theft systems such as car alarms, the immobilizer system aims to drastically reduce the rate of auto theft.
Description and operation Description The evaporator temperature sensor will detect the evaporator core temperature and interrupt compressor relay power in order to prevent evaporator freezing by excessive cooling. Repair procedures Inspection 1.