| Components Location |

| 1. Lock nut 2. Insulator dust cap 3. Self lock nut 4. Strut insulator 5. Strut bearing 6. Spring upper seat |
7. Spring upper pad 8. Coli spring 9. Dust cover 10. Bumper rubber 11. Spring lower pad 12. Shock absorber |
| Removal |
| 1. |
Remove wheel nuts, front wheel and tire from front hub.
|
| 2. |
Remove the cowl top cover. (Refer to Body - "Cowl Top Cover") |
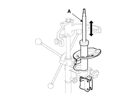
| 3. |
Remove the strut lock nuts (A).
|
| 4. |
Remove the brake caliper hose bracket bolt (A) and wheel speed sensor bracket bolt (B).
|
| 5. |
Remove the stabilizer link nut (A).
|
| 6. |
Loosen the bolts and then remove the strut assembly (A) from the knuckle.
|
| 7. |
Install in the reverse order of removal. |
| Disassembly |
| 1. |
Using a strut spring compressor, compress the coil spring.
|
| 2. |
Using the SST (09546-3X100), loosen the self locking nut.
|
| 3. |
Remove the insulator, spring seat, coil spring and dust cover from the strut assembly. |
| 4. |
Reassembly is the reverse of the disassembly. |
| Inspection |
| 1. |
Check the strut insulator for wear or damage. |
| 2. |
Check rubber parts for damage or deterioration. |
| 3. |
Compress and extend the piston rod (A) and check that there is no abnormal resistance or unusual sound during operation.
|
Disposal
| 1. |
Fully extend the piston rod. |
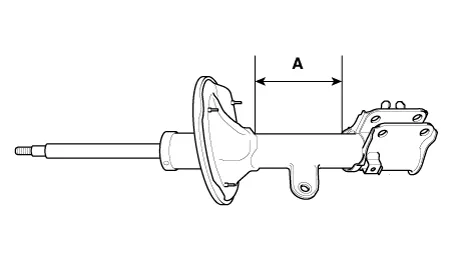
| 2. |
Drill a hole on the A section to remove gas from the cylinder.
|
Components and components location Components Location 1. Gear box 2. Stabilizer bar 3. Driveshaft 4. Stabilizer link 5.
Repair procedures Removal 1. Remove wheel nuts, front wheel and tire from front hub. Tightening torque: 107.
Components and components location Components 1. Driver side seat heater switch 2. Passenger side seat heater switch Description and operation Description Seat Heater Smart Control Technology • To prevent low temperature burn, seat heater temperature will autom
Components and components location Component Location 1. Cap 2. Nut 3. Wiper arm & blade 4. Cowl top cover 5. Bolt 6. Wiper motor & linkage assembly 7. Wiper motor connector Repair procedures Removal 1.