| Component Location |

| 1. Front seat back cover |
| Replacement |
Put on gloves to protect your hands. |
|
| 1. |
Remove the front seat outer shield cover. (Refer to Front Seat - "Front Seat Outer Shield Cover") |
| 2. |
Remove the front seat inner shield cover. (Refer to Front Seat - "Front Seat Inner Shield Cover") |
| 3. |
Pull up the front seat headrest (A).
|
| 4. |
Remove the front seat back cover lower protector (A).
|
| 5. |
Remove the front seat back cover hog-ring.
|
| 6. |
Zipper open the front seat back cover (A) and then pull it up.
|
| 7. |
Disconnect the front seat back cover lower protector.
|
| 8. |
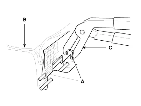
Disconnect the airbag connector mounting clip (A) and heater connector (B).
|
| 9. |
Turn the front seat back cover inside out. Then pull out and remove the headrest guides (A) while pinching both sides of the lower part of the guides.
|
| 10. |
Remove the front seat back cover (A) from the front seat back frame.
|
| 11. |
Remove the front seat back cover (C) from the front the seat back frame after removing the velcro tape (A) and hog-ring clips (B).
|
| 12. |
Install in the reverse order of removal.
|
Components and components location Component Location 1. Front seat shield inner cover Repair procedures Replacement Put on gloves to protect your hands.
Components and components location Component Location 1. Front seat cushion cover Repair procedures Replacement Put on gloves to protect your hands.
Repair procedures Inspection Rear Wiper Motor 1. Remove the connector from the rear wiper motor. 2. Connect positive (+) battery cables to terminal 4 and negative (-) battery cables to terminal 3 respectively.
Description and operation Description The PTC (Positive Temperature Coefficient) heater is installed at the exit or the backside of heater core. The PTC heater is an electric heater using a PTC element as an auxiliary heating device that supplements deficiency of interior heat source in highly effective diesel engine.