| Component Location |

| 1. Front seat cushion cover
|
| Replacement |
Put on gloves to protect your hands. |
|
| 1. |
Remove the front seat outer shield cover. (Refer to Front Seat - "Front Seat Outer Shield Cover") |
| 2. |
Remove the front seat inner shield cover. (Refer to Front Seat - "Front Seat Inner Shield Cover") |
| 3. |
Remove the front seat back cover lower protector (A).
|
| 4. |
Disconnect the heater connector (A).
|
| 5. |
Pull out the protectors (A), and then front seat cushion cover from the front seat cushion frame. [lower]
[LH]
[RH]
|
| 6. |
Remove the front seat cushion cover (A) from the front seat cushion frame.
|
| 7. |
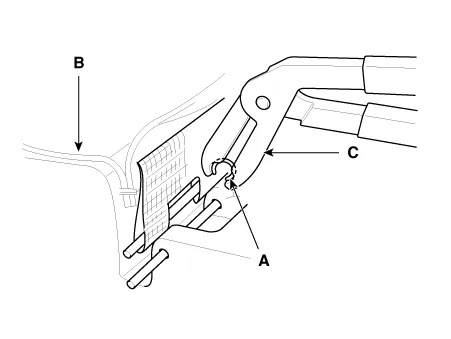
Remove the front seat cushion cover (C) from the front the seat cushion frame after removing the velcro tape (A) and hog-ring clips (B).
|
| 8. |
Install in the reverse order of removal.
|
Components and components location Component Location 1. Front seat back cover Repair procedures Replacement Put on gloves to protect your hands.
Components and components location Component Location 1. Front seat back frame assembly 2. Front seat cushion frame assembly Repair procedures Replacement Put on gloves to protect your hands.
Components and components location Components 1. LDWS ON/OFF switch 2. Instrument cluster 3. LDWS unit (MFC) ※ MFC : Multi Function Camera – Function : LDWS, HBA, AEB Description and operation Description System block diagram Components of LDWS
Description and operation Description The Auto Defogging Sensor is installed on front windshild glass. The Auto Defogging Sensor senses moisture on the windshild. The air conditioner control module receives the signal from the sensor and eliminate the fog by controlling the intake actuator, A/C, auto defogging actuator, blower m