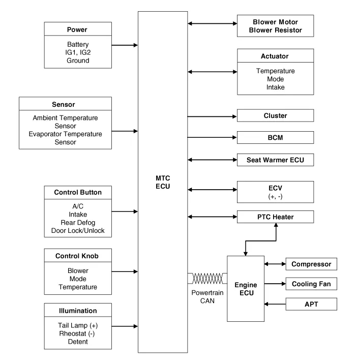
| Components |

Connector pin function
|
NO. |
Connector A |
Connector B |
|
1 |
Low |
Battery |
|
2 |
Common |
ISG Battery |
|
3 |
High |
Illumination (+) |
|
4 |
Middle_LOW |
Sensor (+5V) |
|
5 |
Middle_High |
⁻ |
|
6 |
High |
Intake actuator Feedback |
|
7 |
|
Evaporator sensor (+) |
|
8 |
Ambient sensor (+) |
|
|
9 |
⁻ |
|
|
10 |
⁻ |
|
|
11 |
Intake actuator (FRE) |
|
|
12 |
Intake actuator (REC) |
|
|
13 |
HTD |
|
|
14 |
Rear defog switch |
|
|
15 |
Blower on signal to common |
|
|
16 |
Illumination (-) |
|
|
17 |
IGN2 |
|
|
18 |
IGN1 |
|
|
19 |
⁻ |
|
|
20 |
Max blower on signal |
|
|
21 |
PTC relay 3 |
|
|
22 |
PTC relay 2 |
|
|
23 |
PTC on signal |
|
|
24 |
Detent out (-) |
|
|
25 |
⁻ |
|
|
26 |
Chassis_CAN (High) |
|
|
27 |
Chassis_CAN (Low) |
|
|
28 |
⁻ |
|
|
29 |
ECV (+) |
|
|
30 |
ECV (-) |
|
|
31 |
Sensor ground |
|
|
32 |
Ground |
| Schematic Diagram |

| Replacement |
| 1. |
Disconnect the negative (-) battery terminal. |
| 2. |
Remove the crash pad lower panel. (Refer to Body - "Crash Pad Lower Panel") |
| 3. |
Remove the audio unit. (Refer to Body Electrical System - "Audio Unit") |
| 4. |
Remove the glove box. (Refer to Crash Pad - "Glove Box Housing") |
| 5. |
Remove the driver's side shower duct (A) after loosening the screw.
|
| 6. |
Disconnect the mode control cable (A).
|
| 7. |
Remove the passenger's side shower duct (A) after loosening the screw.
|
| 8. |
Disconnect the temperature control cable (A).
|
| 9. |
After loosening the mounting screws, remove the A/C & heater controller unit (A).
|
| 10. |
Disconnect the A/C & heater controller connectors (A).
|
| 11. |
To install, reverse the removal procedure. |
Components and components location Components Connector Pin Function No. Connector A Connector B 1 Battery ⁻ 2 ISG battery (+) ⁻ 3 Illumination (+) ⁻ 4 Sensor (REF) (+) Defogging actuator Feedback 5 Mode control actuator Feedback Defogging actuator (Open) 6 Temperature control actuator Feedback Defogging actuator (Close) 7 Intake actuator Feedback ⁻ 8 Evapoerator sensor (+) ⁻ 9 Ambient sensor (+) ⁻ 10 Mode control actuator (VENT) ⁻ 11 Mode control actuator (DEF) Defog current 12 Temperature control actuator (COOL) Defog temperature 13 Temperature control actuator (WARM) Defog sck 14 Intake actuator (FRE) Defog data 15 Intake actuator (REC) ⁻ 16 HTD Ground 17 Rear defog switch 18 ⁻ 19 ⁻ 20 Illumination (-) 21 IGN2 22 IGN1 23 Blower motor (+) 24 Photo sensor (-) 25 ⁻ 26 ⁻ 27 ⁻ 28 PTC relay 3 29 PTC relay 2 30 PTC on signal 31 Detent out (-) 32 ⁻ 33 Chassis_CAN (High) 34 Chassis_CAN (Low) 35 FET (Drain hose Feedback) 36 FET (Gate) 37 ECV (+) 38 ECV (-) 39 Sensor ground 40 Ground Schematic diagrams Schematic Diagrams Repair procedures Self Diagnosis 1.
Description and operation Description The PTC (Positive Temperature Coefficient) heater is installed at the exit or the backside of heater core. The PTC heater is an electric heater using a PTC element as an auxiliary heating device that supplements deficiency of interior heat source in highly effective diesel engine.
Description and operation Description The climate control air filter is located in the bower unit. It eliminates foreign materials and odor. The particle filter performs a role as an odor filter as well as a conventional dust filter to ensure comfortable interior environment.