| Component Location |

| 1. Rear seat cushion cover
|
| Replacement |
Put on gloves to protect your hands. |
|
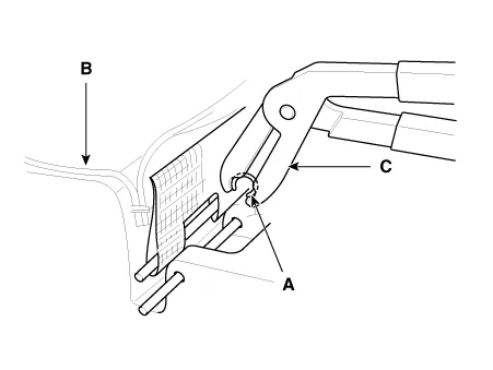
| 1. |
Remove the seat assembly. (Refer to Rear Seat - "Rear Seat Assembly") |
| 2. |
Remove the rear seat cushion cover (A) after removing the hog-ring clips on the rear of seat cushion cover.
|
| 3. |
Install in the reverse order of removal.
|
Components and components location Component Location 1. Rear seat back cover [LH] 2. Rear seat back cover [RH] Repair procedures Replacement Put on gloves to protect your hands.
Description and operation Description The Auto Defogging Sensor is installed on front windshild glass. The Auto Defogging Sensor senses moisture on the windshild. The air conditioner control module receives the signal from the sensor and eliminate the fog by controlling the intake actuator, A/C, auto defogging actuator, blower m
Description and operation Description The cluster ionizer helps to clean up odors in the vehicle or from the air-conditioner system. When the ignition switch ON, the inoizer runs a "CLEAN" mode and then a "ION" mode, switching every about 15 minutes.