| Components |

| 1. Front disc 2. Dust cover |
3. Knuckle |
| Removal |
| 1. |
Remove wheel nuts, front wheel and tire from front hub.
|
| 2. |
By hammering on a chisel, unlock the driveshaft lock hub nut caulking.
|
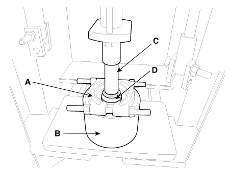
| 3. |
Remove the caulking nut (A) from the front axle.
|
| 4. |
Remove the brake caliper mounting bolts, and then hold the brake caliper assembly (A) with wire.
|
| 5. |
Remove the brake caliper hose bracket bolt (A) and wheel speed sensor bracket bolt (B).
|
| 6. |
Remove the tie rod end ball joint from the knuckle by using the SST (09568-34000).
|
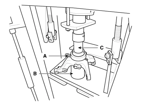
| 7. |
Remove the lower arm bolt and nut (A).
|
| 8. |
Remove the front lower arm from the front knuckle using the SST (0K545-A9100).
|
| 9. |
Loosen the bolts and then remove the strut assembly (A) from the knuckle.
|
| Inspection |
| 1. |
Check the hub for cracks and the splines for wear. |
| 2. |
Check the brake disc for scoring and damage. |
| 3. |
Check the knuckle for cracks |
| 4. |
Check the bearing for cracks or damage. |
| Disassembly |
| 1. |
Remove the snap ring (A).
|
| 2. |
Remove the hub assembly from the knuckle assembly.
|
| 3. |
Remove the hub bearing inner race from the hub assembly.
|
| 4. |
Remove the hub bearing outer race from the knuckle assembly.
|
| 5. |
Replace hub bearing with a new one. |
| Reassembly |
| 1. |
Install the hub bearing to the knuckle assembly.
|
| 2. |
Install the hub assembly to the knuckle assembly.
|
| 3. |
Install the snap ring (A).
|
Specifications Specification Engine T/M Joint type Max. permissible angle Outer Inner Outer Inner Gasoline 1.
Components and components location Component Location Components 1. Heater pipe cover 2. Heater core 3. Mode control actuator 4. Mode control actuator bracket 5. Mode control main lever 6.
Description and operation Description The PTC (Positive Temperature Coefficient) heater is installed at the exit or the backside of heater core. The PTC heater is an electric heater using a PTC element as an auxiliary heating device that supplements deficiency of interior heat source in highly effective diesel engine.