Kia Rio: Driveshaft Assembly / TJ Joint

Components and components location

Components
[RH]

1. BJ assembly
2. Clip
3. BJ boot band
4. BJ boot
5. Dynamic damper band
6. Dynamic damper
7. Shaft
8. TJ boot band
9. TJ boot
10. Spider assembly
11. Circlip
12. TJ housing
13. Circlip

[LH]

1. BJ assembly
2. BJ circlip
3. BJ boot band
4. BJ boot
5. Shaft
6. TJ boot band
7. TJ boot
8. Spider assembly
9. Snap ring
10. TJ case
11. Circlip

Repair procedures

Removal
  

Special grease must be applied to the driveshaft joint. Do not substitute with another type of grease.

The boot band should be replaced with a new one.

1.

Remove the Front Driveshaft.

(Refer to Driveshaft and axle - “Front Driveshaft”)

2.

Remove the BJ circlip (B) from the TJ housing (A).

3.

Remove both boot bands from the TJ housing.

4.

Remove the TJ circlip (A).

  

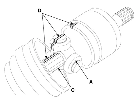
Make alignment marks (D) on spider roller assembly (A), TJ housing (B), and shaft spline (C) to aid reassembly.

5.

Remove the snap ring (A) and spider assembly (B).

6.

Clean the spider assembly.

7.

Remove the TJ boot (A).

  

For reusing the boot (A), wrap tape (B) around the driveshaft splines (C) to protect the boot (A).

Inspection
1.

Check the spider assembly for roller rotation, wear or corrosion.

2.

Check the groove inside the joint case for wear or corrosion.

3.

Check the TJ boots for damage and deterioration.

Installation
1.

Wrap tape around the driveshaft spline (TJ) to prevent damaging the boot.

2.

Using the alignment marks (D) made during disassembly as a guide, install the spider assembly (A) and snap ring (B) on the driveshaft splines (C).

3.

Add specified grease to the joint boot as much as it was wiped away at inspection.

4.

Install both boot bands.

5.

To control the air in the TJ boot, keep the specified distance between the boot bands when they are tightened.

Engine
Distance (L) mm (in.)
LH side
RH side
Gasoline 1.2 (MT)
550.3 (21.0866)
78409 (30.9409)
Gasoline 1.4 (MT / AT)
534.5 (20.1771)
784.8 (30.4842)
Gasoline 1.0 (6MT)
551.5 (19.5590)
767.8 (31.0354)
Gasoline 1.0 (5MT)
559.4 (22.0236)
759.8 (29.9133)
Diesel 1.4 (7DCT)
472.4 (18.5984)
846.5 (33.3267)
Diesel 1.4 (6MT)
519.3 (20.4448)
799.8 (31.4881)

6.

Using the SST (09495-3K000), secure the TJ boot bands.

Clearance (A): 2.0 mm (0.0787 in.) or less

7.

Install the Front Driveshaft.

(Refer to Driveshaft and axle - “Front Driveshaft”)

8.

Check the front alignment.

(Refer to Suspension System - "Alignment")

    Components and components location Components Location 1. Drive shasft (LH) 2. Drive shaft (RH) [RH] 1.

    Components and components location Components [RH] 1. BJ assembly 2. Clip 3. BJ boot band 4. BJ boot 5.

    Other information:

    Kia Rio 2017-2023 YB Service Manual: Front Wiper Motor

    Components and components location Component Location 1. Cap 2. Nut 3. Wiper arm & blade 4. Cowl top cover 5. Bolt 6. Wiper motor & linkage assembly 7. Wiper motor connector Repair procedures Removal 1.

    Kia Rio 2017-2023 YB Service Manual: Compressor

    Description and operation Description The compressor is the power unit of the A/C system. It is located on the side of engine block and driven by a V-belt of engine. The compressor changes the low pressure and low temperature refrigerant gas into the high pressure and high temperature refrigerant gas.

    Categories

     
    Copyright © 2026 www.krioyb.com - 0.0142